内网穿透监控还能这样玩?一个JSON数据竟能暴露所有穿透信息
作者:佚名 时间:2025-12-02 14:05
请求头部:-H 'accept: application/json, text/plain, /' -H 'user-agent: Mozilla/5.0 (Windows NT 10.0; Win64; x64) AppleWebKit/537.36 (KHTML, like Gecko) Chrome/139.0.0.0 Safari/537.36 Edg/139.0.0.0'
调试监控项

4.2.2 内网穿透条目:条目发现
类型:相关项目
Key:cfg.discovery
主要项:内网穿透条目
暴露宏变量:{#NATID}
{#NATDOMAIN}
预处理(JavaScript 统一转换)暴露宏变量
var res = JSON.parse(value);
var lld = [];
res.datas.forEach(function(item){
lld.push({
"{#NATID}" : item.id,
"{#NATDOMAIN}" : item.domain
});
});
return JSON.stringify({
data: lld});
老道理,同样通过测试步骤,输入RESP接口采集回来的JSON
数据进行加工测试,得到{"data":
{"{#NATID}":xxxx,"{#NATDOMAIN}":"xxxx.iepose.cn"}
},如下图。

4.2.3 内网穿透条目:条目发现-监控项原型
在LLD 自动发现规则中创建监控项原型,才能继用它暴露的宏变量,这里演示如何获取穿透的内网地址。
类型:相关项目
Key:lanAddr
主要项:内网穿透条目
如下图所示:

结合预处理JSONPath和正则匹配$.datas
?(@.id=="{#NATID}")
.lanAddr,成功匹配到内网代理IP和端口

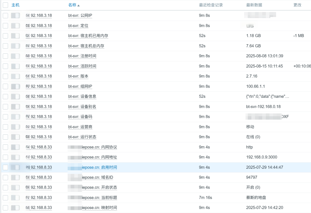
查看最新采集的数据,内网协议,内网地址,映射开启状态均已显示。

对比「穿透工具A」控制台的内网穿透配置,完全一样!

4.3 创建中转设备绑定查询 LLD 规则
创建 LLD 规则的目标是暴露采集同类型不同规格的参数,为了减少对HTTP 代理的依赖,我们在创建LLD规则前,需要先建立一个普通的监控项。
4.3.1 中转设备管理
类型:HTTP agent
Key:bind.get
URL:https://xxx.xxx.com/jdis/bindget
请求:GET
查询字段:uid=xxx&owcode=xxx&product=2581&cache_ver=0.29773539924079817
请求头部:同理
调试监控项

4.3.1 中转设备管理:设备发现
类型:相关项目
Key:dev.discovery
主要项:内网设备管理
暴露宏变量:{#PEERID}
{#NAME}
预处理(JavaScript 统一转换)暴露宏变量
// 只遍历顶级 terms,每台设备生成 1 条发现记录
var lld = [];
var root = JSON.parse(value);
root.terms.forEach(function(node){
var t = node.term;
lld.push({
"{#PEERID}" : node.peerid,
"{#NAME}" : t.name
});
});
return JSON.stringify({
data: lld});
同样通过测试步骤,输入RESP接口采集回来的JSON
数据进行加工测试,得到{"data":
{"{#PEERID}":"xxx","{#NAME}":"xxx"},{"{#PEERID}":"xxx","{#NAME}":"xxx"}
},如下图。

4.2.3 内网设备挂历:设备发现-监控项原型
在LLD 自动发现规则中创建监控项原型,才能继用它暴露的宏变量,这里演示如何获取穿透的公网IP。
类型:相关项目
Key:ip
"{#NAME}"
主要项:中转设备管理
如下图所示:

结合预处理JSONPath和正则匹配$.terms
?(@.peerid=="{#PEERID}")
.term.ip,可获取到大端序的IP地址。
预处理(JavaScript 统一转换)
function intToIP(i){
return [
i & 0xFF, // 最低字节 → 第 1 段
(i >>> 8) & 0xFF, // 次低字节 → 第 2 段
(i >>> 16) & 0xFF, // 次高字节 → 第 3 段
(i >>> 24) & 0xFF // 最高字节 → 第 4 段
].join('.');
}
return intToIP(parseInt(value));
再结合JavaScrips进行转换,可得出最终IP地址。

4.4 创建中转设备代理服务 LLD 规则
因篇幅原因,本节不做展开,和以上同理。
五、基于自动发现创建监控原型和触发器
5.1 一张图看懂监控纳管流程
「穿透工具A」 API
│
├─ HTTP Agent → LLD 规则 → 生成宏 {
#PEERID} {
#NAME} {
#NATDOMAIN} …
│ │
│ ├─ Item Prototype
│ ├─ Trigger Prototype
│ └─ Graph Prototype
│
└─ 新节点上线 → 自动纳入监控,无需人工干预
零侵入:无需在节点安装 Agent
零配置:节点增减自动发现
零费用:HTTP 代理 + 免费穿透工具即可落地
5.2 服务端口可用性原型
字段示例
Item Prototype Key : net.tcp.service
tcp,{#SERVICEIP},{#SERVICEPORT}
Trigger Prototype : last(/OWJDXB by HTTP/net.tcp.service
tcp,{#SERVICEIP},{#SERVICEPORT}
)=0
5.3 监控主机内存容量(GB)
实践得知,Linux和Docker系的「穿透工具A」客户可以获取宿主机的总内存和已用内存,指令类似free -m单位 MB ,需要通过预处理倍数 1024x1024进行转换,单位Units 填 B,因为Zabbix不支持MB。

5.4 动态 HTTP 监控
通过HTTP 代理我们还可以将内网穿透条目中的公网域名纳入监控,判断其标题如果出现:XX无法打开页面即表示网络或者客户端出现问题。
类型:HTTP 代理
Key:web.title.check
URL:{#PROTOCAL}://{#NATDOMAIN}
预处理:(?i)
>()
5.5 自动发现及常规监控项总览

六、「穿透工具A」监控实战
6.1 添加「穿透工具A」监控
首次需登录「穿透工具」控制台,打开F12找到list链接,点击负载获取你的UID和OWCODE。

回到Zabbix添加主机,关联我们制作好的「穿透工具A」监控专用模板。

配置宏变量,其中·{零配置方案:Zabbix + HTTP 代理实现内网穿透工具的自动化管理_数据_21OWCODE}是前面获取的,{$PHONE}是你登录手机号。

6.2 配置监控看板和查看数据
在仪表盘中,我们添加TOP主机类型组件,即可得到多个账号多个设备在线状态、账号级的流量数据。后续结合Grafana,可扩展出更多的列表数据,如设备的出口IP,映射公网域名等。


6.3 查看及触发告警
中转设备代理的服务,即内网服务掉线则会发出告警:

中转设备掉线,通过HTTP 代理及JavaScrip匹配映射出来的DDNS条目(访问域名)进行实时访问的页面标题,判断是否在线。

七、总结
本文详尽介绍如何通过HTTP 代理结合预处理中的JSONPath和JavaScript,模拟浏览器将「穿透工具A」的REST接口返回的Json数据进行过滤和匹配,结合Zabbix LLD规则将多中转设备的数据纳管到监控原型中,实现一个都不能少的目标。
作为抛砖引玉,笔者选「穿透工具A」作为功能演示,提供一种零侵入、零配置的监控思路和实现方案。
笔者注:文中所提及的工具名称仅为示例,不代表任何特定品牌或产品;使用本文中的方法和技术时,请确保遵守相关法律法规和服务条款。


